Введение.
Глава I. Марийский народный костюм (вторая половина XIX-начало ХХ вв.
Материалы и технология изготовления костюма.
Женская одежда, головные уборы, обувь, украшения.
Мужская одежда, головные уборы, обувь.
Комплексы марийской женской одежды.
Глава II. Функции и тенденции развития марийского народного костюма.
Функции марийского народного костюм.
Основные тенденции развития марийского народного костюма в дореволюционный период.
Тенденции развития костюма в 20-40 г.г.
Тенденции развития национальной одежды в 50-80 г.г.
Заключение
Фоторепродукции.
Глава 1. МАРИЙСКИЙ НАРОДНЫЙ КОСТЮМ
(вторая половина Х1Х-начало ХХ вв.)
(вторая половина Х1Х-начало ХХ вв.)
МАТЕРИАЛЫ И ТЕХНОЛОГИЯ ИЗГОТОВЛЕНИЯ КОСТЮМА.
В Марийском крае, как и в ряде других районов Среднего Поволжья,
традиционная одежда вплоть до Октябрьской революции продолжала
изготовляться преимущественно из домотканины (холста,
сукна), а также шкур, выделанных в домашних условиях. Эти промыслы,
связанные с изготовлением одежды, занимали в то время
значительное место в быту марийцев.
Изготовление холста.
Для выработки холщовых тканей марийцы
выращивали коноплю (кыне), реже - лен (йытын). По их мнению,
конопляный, в том числе и посконный холст, был прочнее льняного.
Лен встречался обычно в северных районах края, где марийцы жили
в близком соседстве с русскими, которые предпочитали сеять именно
эту культуру. Иногда льняные ткани покупались на базаре. В прошлом
для производства ткани широко использовалось, видимо, и крапивное
волокно. Об этом свидетельствует архаичный обычай изготовления
свадебного покрывала для невесты из этого растения в конце
XIX в. Употребление крапивной ткани для приготовления одежды
отмечено и у ряда сибирских народов (манси, ханты, шорцы, северные
алтайцы и др.). По нашим полевым материалам, у марийцев технология
обработки крапивы для получения волокна, а затем ткани
была примерно такой же, как при обработке конопли.
Конопля - одна из древних технических культур. Н.И. Лебедева, приводя данные о выращивании ее на территории восточных славян в VII-VIII вв., высказала предположение о возможном использовании здесь этого растения с глубокой древности. Эта мысль обоснована ею рядом этнографических фактов, а также тем, что в Поволжье и на Украине конопля была известна и в диком виде.
О древности культивирования конопли и о значении ее в быту марийцев свидетельствуют многочисленные приметы и обряды, связанные с ее возделыванием. Так, во время сева нельзя было стричь волосы, следовало остерегаться ругать птиц. Сеять коноплю нельзя было после полудня, так как считалось, что в таком случае она вырастет короткой. Для получения хороших урожаев марийцы проводили различные обряды во время праздника «шорыкйол» (овечья нога), приходившегося на время русских святок; варили ритуальную кашу из семян конопли, подбрасывали семена вверх, имитируя длину будущей конопли, разбрасывали их при спуске с ледяной горы и т. п. Во время этого праздника ряженые (старик Василий, старуха Васильевна) разыгрывали в каждом доме различные сцены: «ревизию» пряжи, имитировали прядение, желали каждой хозяйке большого урожая этой культуры. Старик Василий и старуха Васильевна олицетворяли мифических покровителей прях и самой конопли. Культ пряхи, конопли и льна был распространен и у других финноугорских народов (удмуртов, мордвы).
Все эти сложные и трудоемкие работы по выращиванию данных технических культур, обработке волокон и ткани выполняла женщина, у которой на эту работу уходило почти полгода. Поэтому белый холст был ее гордостью. Недаром у марийцев существует пословица: «Волгыдо мланде ош вынер» («Светлый мир как белый холст»). Обычным правом марийцев признавалась собственность женщины на изделия из конопли и льна, на орудия труда для их производства. При выходе замуж молодушка в первый год после свадьбы сохраняла за собой право на засеянную коноплей или льном полосу в хозяйстве родителей.
Участок под посев этих культур (кыне нур, кыневице) отводился на хорошо удобренной земле, обычно на усадьбе, реже в поле. Общий размер посевов конопли и льна зависел от земельного надела и потребностей семьи, особенно от числа девушек, которым необходимо было готовить приданое (кумалтыш), состоящее прежде всего из холста и одежды из нее. Согласно материалам Т.А.Крюковой размер подобного участка в конце XIX в. колебался от десяти до пятнадцати соток.
Лен сеяли в конце мая и дергали в конце августа. Коноплю сеяли в начале июня, а убирали в два приема: сначала в конце июля, обычно до Ильина дня, выдергивали посконь (кыне пачаш) мужские особи, поспевающие значительно раньше собственно конопли «матерки» женских особей. Остальные растения убирали в начале сентября, когда листья конопли опадали, а семена приобретали зеленый оттенок. Все процессы обработки конопли и льна (мочка, сушка, получение кудели, сучение пряжи, тканье) сложны и трудоемки. Это тема для специального исследования, поэтому мы не останавливаемся подробно на этой технологии, а отметим лишь некоторые особенности, которые существовали при обработке конопли у марийцев, поскольку она являлась у них преобладающей культурой.
Для получения пряжи конопля подвергалась длительной обработке при помощи специальных технологических приемов и орудий. После мочки и сушки стебли конопли мяли на мялке (кыне туле). Марийцы для этой цели применяли в основном наклонную мялку, которая бытовала и у других народов Поволжско-Уральского региона. По мнению В.Н.Куклина, горизонтальная мялка, как наиболее развитое техническое приспособление, использовалась только у мордвы, русских, татар. Однако по нашим полевым материалам мялки такого типа применялись и марийцами в начале ХХ века. Видимо, такой тип в нашем крае стали использовать под влиянием русского населения.
При чесании конопляного волокна его разделяли по качеству на три сорта: 1) первый слой, который счесывали, был самым грубым (ӱмбал руалтыш, руалтыш); 2) второй начес состоял из полугрубой кудели (кокла тупка, лойга); 3) самая мягкая и ценная часть получалась из остатка всего волокна (кӱляш, вуйге-почге). По сведениям Т.А.Крюковой, на кудель разного сорта приходилось соответственно: 1-й—около 30%, 2-й-20%, 3-й-50%. А Из пряжи разного качества впоследствии ткали холст разных сортов. Из первого начеса пряли нитки для толстого полотна (ӱмбач руалтыш вынер, роалтыш мынер) которое употреблялось на онучи, мешки, пологи и т.д. Из полугрубых ниток получался холст для будничных рубах, кафтанов, штанов (кокла вынер, лоиш мынер) Из самой мягкой и качественной пряжи изготавливали ткань (кӱляш вынер, вуйге-пачге мынер) для праздничных рубах, кафтанов, головных уборов.
Для получения из кудели ниток использовались прялки, которые у марийцев были двух типов: с донцем (кӱнчылавондо) и просто длинная палка (кӱнчыла тоя). Последняя - древний, простейший тип прялки. Применение ее описала А.Фукс: «Черемиски прядут очень странно: привязывают кудель (кӱнчыла) к палке, как шерсть, и втыкают всегда палку в веревки в онучах» Пряжа сматывалась на ручное веретено, которое обычно изготавливалось в домашних условиях или покупалось на базаре. Процесс прядения у мариек был таким же, как и у всех народов Поволжья,- левой рукой дергали кудель и ссучивали нитку, правой приводили в движение веретено.
У марийцев в первой половине XIX века был распространен примитивный горизонтальный ткацкий станок, не имеющий рамы и без заднего навоя. А.Фукс по этому поводу писала, что у марийцев «станы для тканья также странны и просты, без навоев, точно так, как ткут тесемки, холсты, иные черемиски ткут очень тонко...» Старинный марийский стан (марла куымо стан) не имел стоек, а блочки, поддерживающие нитченки, прикреплялись к потолку или перекладине. Не имел он также палки навоя, на которую наматывается основа. На таком стане основа укреплялась на кол, а концы ниток заплетались в косу. Этот тип горизонтального стана один из древних у марийцев. По мнению исследователей, он является общим для всей Урало-Волжской зоны. Ко второму типу относится ткацкий стан с рамой, но без заднего навоя, который бытовал в XIX веке у марийцев, мордвы, удмуртов. Его относят к переходному типу стана - от примитивного к развитому. Позднее, в 20-30-х гг. ХХ в. вошел в употребление ткацкий стан с рамой и задним навоем.
Холст ткался примерно одной ширины — 34—37 см. Горные марийки и часть луговых (в юго-восточной части края) еще ткали и более узкий холст для полотенчатых женских уборов.
Готовые холсты неоднократно отбеливали: держали в щелоке, в кислом молоке, сыворотке, расстилали на снегу или траве и держали под солнцем. Завершалась подготовка холста мягчением. С этой целью посконь свертывали и били палками на круглом обрубке дере ва (вынер кышкар) обычно вчетвером. Ритмичный звук при мягчении холста от синхронных ударов работающих женщин разносился по всему селению и даже был слышен за его пределами, поэтому бревно, на котором мягчили холст, в народе называли образно «мурызо кышкар» — «поющее бревно».
В конце ХIХ-начале ХХ в. у луговых марийцев, а у горных значительно раньше, примерно с середины XIX в., стали использовать в ткачестве фабричные нитки (пумажный шӱртӧ, крученко шӱртӧ, паҥга шӱртӧ, мамык шӱртӧ). Хлопчатобумажные нити обычно шли на основу, а на уток - конопляные. Получался тонкий холст (полукрученко вынер, полупумажник вынер). Наиболее ценным считался тонкий белый холст, сотканный только из фабричных ниток (мамык вынер ирса мынер, кытге-торешге мынер). Он шел исключительно на праздничную и обрядовую одежду. Горные и луговые марийцы в основном ткали белый холст. Браная техника ткачества (кышкеме тӱр) использовалась для украшения концов полотенец, подолов фартуков, женских головных уборов (шарпан). Пестрядинное ткачество у поволжских групп марийцев было мало распространено. Холсты такого типа обычно были темной расцветки, ткали их в полоску или в клетку: первая разновидность предназначалась для мужской одежды; вторая использовалась для хозяйственных нужд (наволочек, наперни ков, подклада верхней одежды и т.п.). Пестрядинное и узорное ткачество широко бытовало лишь у восточных марийцев под влиянием соседнего татарского населения. Пестрядь у этой группы использова лась наряду с белой холщовой одеждой.
С осени, по окончании сельскохозяйственных работ, и до весны свободное время женщины посвящали прядению, ткачеству, шитью и вышиванию. К прядению привлекались и девочки с 11-12 лет, а в бедных семьях - еще раньше. Для рукоделия женщины часто собирались вместе. Один из исследователей отмечал, что «в свободное от других занятий время тканье, пряжа и вышивание производятся целым обществом родственников и односелок, причем работающие чередуются, занимаясь то тем , то другим, что более нравится, что более «по душе».
Ткацкое искусство мариек было искусным. Они умели изготовлять на одном и том же стане до 12 видов холста.
Обработка шерсти.
Для изготовления теплой одежды применялась овечья шерсть, которая также обрабатывалась домашними средствами. Овца особенно почиталась среди домашних животных. Неслучайно святки у марийцев назывались - «шорыкйол» (овечья нога), во время их проводилось много обрядов, связанных с овцеводством: овец дергали за ноги, чтобы они приносили ягнят двойнями; готовили ритуальный суп из баранины и молились покровителям овцы (шорык ава, шорык ача); играли в жмурки, эта игра по-марийски называлась «сокыр тага» - «слепой баран».
Овец стригли два раза в год: весной и осенью. Для изготовления пряжи осеннюю и весеннюю шерсть смешивали. Подготовка ее к прядению производилась специалистами-шерстобитами, которые пользовались для этого струной (йоҥежгандыра, меж йыдаҥ), которая подвешивалась над решеткой (чатыр). Струну изготавливали из бараньих кишок, натянутых на деревянный каркас (около двух метров) в виде скрипичного смычка. Решетка состояла из деревянных пластинок, скрепленных веревочками. Взбитая шерсть падала на решетку, все твердые части и мусор - в отверстия решетки.
Обработанную шерсть пряли на прялках и сматывали на веретена. Делали это так же, как конопляные и льняные нити. Самопрялки (кӱнчыла шӱдырымӧ орава) на территории края стали распространяться в начале ХХ в.
Из готовой шерстяной пряжи вязали варежки, шарфы, носки (без пяток). При вязании пользовались одной костяной иглой. Такой способ вязания был известен и другим народам. Из шерстяной пряжи ткали сукно, шерстяную ткань для широких и обычных поясов, тесьму для украшения одежды.
Сукно (ыштыраш) ткали на обычном ткацком станке, применяя более широкое бердо. Для получения плотности и ворса сотканную шерстяную ткань (ширина 50-60 см) поливали горячей водой и толкли в большой дубовой ступе деревянными пестами или же мяли ногами. Последний способ уплотнения сукна считался наиболее примитивным, старинным. Из сукна белого цвета шили праздничные кафтаны, из черного - будничные, а также теплые мужские штаны (ыштыраш йолаш), изготовляли онучи (вургыштыр) для обертывания голени. При недостаточном количестве шерсти ткали полушерстяную ткань (межтореш вынер), где основа делалась из конопляной пряжи, а уток из шерстяной. Этот вид ткани употребляли для изготовления мужских штанов, портянок и т.д.
Из шерсти делали также валяные домашним способом мужские шляпы (теркупш) различных форм. До революции на территории современного Оршанского района МССР производство шляп, которым занимались мужчины, приобрело характер кустарного промысла. Из шерсти валяли валенки, изготовлением которых занимались как пришлые мастера, так и местные умельцы. Валяная обувь в условиях суровых зим находила сбыт на местных рынках. Этот промысел наиболее интенсивно был развит в бассейне реки Буй и в Приветлужье.
Обработка шерсти и производство из нее пряжи, сукна, варежек, поясов, шляп, валенок у марийцев идентичны способам изготовления этих изделий у других народов Среднего Поволжья.
Выделка шкур.
У марийцев издавна была развита выделка овчин (шорык коваште). Процесс производства заключался в следующем: овчины промывали в воде, затем соскабливали с них остатки сала, мяса; после чистки шкуры погружали в кислый раствор из ржаной или овсяной муки, где они лежали 4-6 дней. Затем шкуры сушили, мягчили, подвергали процессу мелования. Дубление сыромятных кож производили раствором из дубовой или ивовой коры. Овчины красили в красноватый и черный цвета.
Из выделанных овчин шили полушубки и шубы (ужга, кӱрык, ыжга). Из шкурок ягнят (смушки) женские и мужские шапки типа кубанки (крымский упш, ыслык), верх которых обычно делали из сукна или плиса. Для изготовления мужских шапок, помимо мерлушки, употребляли и мех зайца (мераҥ), для женских - лисы (рывыж), куницы (луй) и бобра (ындыр).
С развитием капитализма появились кожевенные заводы, куда крестьяне отдавали сырье и получали готовую продукцию. В конце XIX в. небольшие заводы по переработке овчин были распространены по всему Среднему Поволжью. Например, из 11 кожевенных мастерских, имевшихся в Уржумском уезде, 7 находилось у истоков р. Буй. Каждый заводик перерабатывал от 300 до 2000 кож в год. Сырье приобреталось в местных селениях, затем в обработанном виде продавалось населению.
Изготовление обуви.
Она у марийцев также производилась в домашних условиях. Распространены среди марийцев были лыковые лапти (йыдал, йондал, йындал) которые всегда носили в сочетании с холщовыми и суконными онучами. Для плетения лаптей применяли не только лыко, но и бересту, из которой плели глубокие ступни (кумыж ката), а иногда и сапоги (кумыж кем). Основным материалом в изготовлении обуви было липовое лыко, которое подготавливали следующим образом: мочили в воде несколько суток, затем счищали с лыка кожуру и разбивали на узкие полоски. Перед плетением для придания им большей эластичности их снова мочили. Орудиями для изготовления служили деревянные колодки (колодка) разных размеров, кочедык (сӱзлӧ) с деревянной рукояткой и остро отточенный нож (кӱзӧ).
При изготовлении лаптей применялись способы косого и прямого плетения, что придавало им прочность; один и тот же лапоть можно было надеть на любую ногу. А.Ф.Риттих во второй половине XIX в. писал, что лапти у марийцев «выделываются не только хорошо, но и щеголевато». Они наряду с удмуртскими, чувашскими и татарскими относятся к смешанному типу.
Плетение лаптей имело немаловажное значение в хозяйстве крестьянина - их требовалось много, так как за одну неделю, особенно в период ненастья, снашивалось до двух пар. Лапти десятками продавались на местных рынках.
Кожаная обувь ценилась, ее старались надевать только в праздничные дни. Она была доступна в основном зажиточной части марийцев. Женские кожаные сапоги (кем) шили из телячьей сыромятной кожи. Верхняя часть была толстой - двухслойной, нижняя — однослойной, поэтому кожа собиралась в сборы. Такие сапоги были распространены в основном среди горных и части луговых мариек юго-восточной части края. Подобные сапожки носили и мордовки. Кожаную обувь покупали на рынке. Среди горных марийцев были и свои мастера, производившие кожаные сапоги на продажу.
Крашение.
Окрашивание пряжи относилось к числу хорошо разви тых домашних промыслов марийского народа32. Это подчеркивали еще ученые - участники академических экспедиций в XVIII в.зз. Во вто рой половине XIX в. пряжа для вышивания, тканья тесьмы и поясов продолжала окрашиваться красителями домашнего изготовления. Марийцы красили не только пряжу, но и готовые ткани, главным образом сукно. Они использовали различные красители: раститель ные, минеральные и смешанные (растительно-минеральные). Для крашения пряжи чаще всего применяли растительные красители: цве ты, листья и корни трав, а также листья и кору деревьев. Цветовая гамма (марийских орнаментов) состояла из четырех красок (красной, черной, зеленой и желтой). Преобладающим цветом был красный (различных оттенков). Каждый цвет имел также разные оттенки (в зависимости от интенсивности краски).
Растения для крашения заготавливали в основном весной. Для закрепления красок использовались катализаторы (железо, соль, щелочь и др.), поэтому нитки совсем не линяли. В разных районах Марийского края существовали свои характерные и разнообразные средства и приемы крашения. Красильщицы старались держать их в секрете. Основным способом было заквашивание ниток в красильном растворе, поэтому пряжа, окрашенная таким образом, называлась «шуктымо шӱртӧ» - «квашеные нитки».
Средства и методы окрашивания пряжи и тканей в различные цвета у марийцев имеют большое сходство с соседними народами, особенно эта аналогия прослеживается с чувашами и мордвой.
Анилиновые красители марийцами стали применяться в конце XIX в. Это повлияло на цветовую гамму народного костюма. Наряду с четырьмя основными цветами появляются новые - яркие: малиновый, розовый, фиолетовый, сиреневый, ярко-желтый и другие.
Вышивка одежды.
Многие элементы народного костюма - рубахи, кафтаны, головные уборы, передники, поясные подвески - украшались сложной и богатой вышивкой. Вышивание было одним из развитых домашних промыслов марийцев, связанных с изготовлением одежды. Для вышивания марийки использовали иголки (име), деревянную швейку (тӱр меҥге), к которой прикреплялась ткань. Традиционная вышивка выполнялась по счету нитей. Техника ее имела несколько вариантов: 1) «роспись» (пӱшкыл тӱр) - двусторонний шов, рисующий узор линейными стежками; 2) «косой стежок» (темышан, ӱмбачкерыштыш) - он использовался для заполнения орнаментальных узоров, предварительно очерченных швом; 3) «счетная гладь» (темыш тӱр, керыштыш темышан) - его вышивали по счету нитей ткани без контура; 4) шов «набор» (ӱмбачкерыштыш, керыштыш) - он напоминает узорные тканье, рисунок получается двусторонним.
Старинная марийская вышивка была плотной и четко очерченной. Основными мотивами в орнаменте были следующие: геометрический - изображение комбинаций различных геометрических фигур; зооморфный и антропоморфный - воспроизведение стилизованных фигур животных, птиц, человека; растительный - изображение реальных форм деревьев, цветов, листьев и т.д.
Вышивка костюма относится к одному из самых трудоемких домашних женских занятий. Мастерству вышивки девочку начинали обучать с самых сложных элементов орнамента. Умение хорошо вышивать считалось одним из основных качеств, необходимых марийской девушке-невесте .
Вышивка относится к одному из самых ярких и самобытных проявлений декоративно-прикладного искусства народа. Марийские мастерицы прославили свое искусство далеко за пределами края. Еще до 1917 года их рукоделия выставлялись на зарубежных выставках и заслужили широкое признание. Так, на Всемирной Колумбовой выставке в Америке в 1892 году вышитые марийские изделия получили второй приз. После этой выставки вышивка мариек стала очень популярной. Она скупалась у них за бесценок в большом количестве. Например, в конце XIX века крупный нижегородский скупщик Малов приобретал вышитые изделия марийских женщин, которые сбывал московским купцам, а последние поставляли их за границу. Таким образом, вышитые изделия марийских мастериц использовались не только как предметы домашнего обихода, но и нашли сбыт как на местных, так и на отдаленных рынках. Возрастание товарного значения рукоделий привело к тому, что во многих селениях Казанской губернии вышивание приобрело характер кустарного промысла. Спросом на зарубежных рынках пользовались в основном изделия луговых мариек с характерным резко очерченным орнаментом, выполненным крупно и плотно. Вышивка горных мариек носила иной характер - она была мелкой. Наиболее искусные горномарийские мастерицы данной группы изготовляли вышитые изделия по заказам однодеревенцев, а также на продажу луговым и восточным марийцам.
Изготовление тесьмы, поясов.
Для этого использовали конопляные, шерстяные и шелковые нитки. Как свидетельствуют данные археологии, пояса из тесьмы были принадлежностью одежды издавна. Пояса из тесьмы встречаются в материалах древнемарийских могильников. По этнографическим материалам их ткали на дощечках, бердечке и специальном станке. Наиболее древний вид тесьмы, служащий для украшения одежды, плелся примитивным ручным способом, путем прямого переплетения пряжи руками.
Наиболее распространенным способом изготовления поясов и тесьмы у марийцев, как и у других народов, было тканье на дощечках (ӱштӧ ис). Такое приспособление состояло из дубовых дощечек размером 7x7 см, с отверстиями на углах для продевания ниток. Ткали следующим образом: нитка основы продевалась в отверстие дощечки, один конец нитки ткачиха закрепляла у себя за поясом, а другой конец прикрепляла к неподвижному предмету. Дощечки попеременно переворачивали на четверть и продевали в образовавшийся зев нитку утка, направляя ее рукой или палочкой. При переворачивании происходило переплетение нитей.
Способ плетения на бердечке был известен многим народам Европы, Кавказа, Средней Азии. Техника тканья поясов и тесьмы на бердечке у марийцев была аналогичной способу, распространенному среди восточных славян.
В начале ХХ века для тканья поясов у горных мари стали применять небольшой станочек, который устраивался по тому же принципу, что и большой станок для изготовления холста. На подобных станках ткут пояса в Горномарийском районе и в настоящее время.
Украшения.
Обязательной принадлежностью марийской одежды, в особенности женской, были различные украшения, в археологических материалах они богато представлены уже в древнемарийских могильниках IX—XI вв. Женские украшения в этот период производились из меди и бронзы, иногда они покрывали костюм сверху донизу.
Поскольку марийцам в XVII в. (после восстания Степана Разина) было запрещено заниматься ремеслами, связанными с металлообработкой, для изготовления украшений широкое применение получили другие материалы. Большинство украшений в XIX в. женщины изготовляли своими руками, используя для этой цели металлические бляшки и проволоку, настоящие монеты и их имитации, блестки и раковины ужовки, бисер и бусы разных цветов, перламутровые и цветные пуговицы. Монеты часто нашивались на плотную ткань или кожу. Дополнительно для изготовления украшений женщины пользовались позументом, разноцветными лентами, тесьмой, кистями и бахромой из разноцветных шерстяных ниток. Особенно часто применялись серебряные монеты. Полевые материалы свидетельствуют о том, что использовались монеты самых разных достоинств - от самых старинных до иностранных (талеры). Последние были зафиксированы нами в украшениях группы горных мари.
Для изготовления полного комплекса украшений требовалось большое количество монет, например, у горных мариек в середине XIX в. он оценивался в 100 рублей серебром. Украшения очень ценились марийками и передавались по наследству от матери к дочери. Однако комплект украшений, полностью изготовленный из серебряных монет, могла иметь далеко не каждая женщина, поэтому многие марийки использовали различные имитации. Они употреблялись у многих народов Среднего Поволжья для украшения своих костюмов. В Рыбной слободе Казани существовал специальный кустарный промысел, который занимался изготовлением имитаций украшений, а также других металлических поделок, которые сбывались на территории всего Урало-Поволжского региона.
Среди марийцев был развит кустарный промысел по производству несложных металлических украшений (мари алтынче, шийдыче), которые путем холодной обработки выделывали блестки (чинче), кольца (шергаш), браслеты (кидшол) и застежки-сюльгамы (шыркама). Во второй половине XIX в. в горной части края, в деревне Чаломкино, начали изготовлять широкие металлические цепочки из мелких колечек и решетчатых пластинок, в которых могло быть по 3, 6, 8, 12 колечек в одном ряду. Цепочка (цепошка) была распространенным нагрудным украшением не только горных мариек, но и чувашей группы виръял. Видимо, подобные цепочки находили сбыт и среди других народов Среднего Поволжья, в частности, они встречаются в народном костюме удмурток.
Развитие товарно-денежных отношений привело к распространению в марийской деревне фабричных тканей, в народном костюме горных мари они появились значительно раньше, чем у луговых, так у первых были более развиты товарно-денежные отношения. Первоначально из фабричной ткани изготавливалась мужская одежда, а также празднично-обрядовые наряды женщин. Так, праздничный костюм горного марийца конца XIX в. состоял «из рубашки малинового ситца, пиджака и шаровар из черного мелескина и сапог с набором».
Как свидетельствуют полевые материалы, из фабричных тканей марийцы стремились приобрести сукно черного и зеленого цветов для обрядовых и праздничных кафтанов. Т.Семенов отмечал в конце XIX в., что самодельное сукно начинает вытесняться фабричным. Из легких тканей марийцы предпочитали сатин, батист, кумач, сарпинку, которые шли в основном на изготовление передников, платков, а также для украшения костюмного ансамбля. Большим спросом на базарах пользовались и различные украшения фабричного изготовления для одежды: ленты и тесьма (тасма, койшан), кружево (кржва, плетон), позумент (ока), блестки (чинче, челди), бисер (шер), пуговицы (полдыш), гарус и т.п . В конце XIX в. широко распространяются шали и платки фабричного производства.
Во второй половине XIX в. центрами внутренней торговли в крае были ярмарки, городские базары и сельские торжки. Крупная ярмарка проводилась в городе Яранске с 20 сентября по 1 октября. Ярмарки проводились регулярно 2-3 раза в год и в селах (Сернур, Кичма, Новый Торъял) Уржумского уезда. Крупнейшая в крае по объему и торговому обороту ярмарка проходила в селе Большая Юнга Козьмодемьянского уезда. В Царевококшайском уезде проводились две ярмарки: в городе Царевококшайске (3 августа) и в селе Ежово, ближайшем к нему (23 июля). Во время этих торгов марийцы приобретали фабричные ткани, украшения для одежды, а также сами торговали своими изделиями народного костюма (лаптями, поясами, тесьмой, головными уборами, сукном). Галантерейными изделиями среди марийцев часто торговали торговцы-татары (коробейники), которые продавали ленты, различные виды тесьмы, кружев, пуговиц, бисера, фабричных платков и т.д.
Таким образом, народный костюм марийцев во второй половине Х1Х-начале ХХ в. производился преимущественно домашним способом и изготовлялся из самодельных тканей. Фабричными тканями пользовались представители зажиточной части населения. Значительно шире они использовались в костюме мужчин.
ЖЕНСКАЯ ОДЕЖДА, ГОЛОВНЫЕ УБОРЫ, ОБУВЬ, УКРАШЕНИЯ.
Традиционный марийский женский костюм состоял из рубахи,
штанов, кафтана, пояса с подвесными подвесками, головного убора и
обуви из лыка с шерстяными и холщовыми онучами. Праздничный
костюм дополнялся набором украшений, в этом разделе рассматривается
типология отдельных составных частей женского костюма. При
этом мы руководствуемся методом, разработанным О.А.Сухаревой
для типологизации среднеазиатской туникообразной рубаха.
Основной принцип выделения типов - конструктивный, т.е. покрой.
Под типом мы подразумеваем вид одежды, выделяющийся стабильными
признаками. При выделении подтипов учитывались наиболее важные
отличительные признаки в деталях покроя данного типа,
варианты отличаются друг от друга менее значительными признаками
(например, клинья, место расположения грудного разреза, отделка
и т.д.).
При создании типологии привлекались музейные, полевые и литературные материалы. Попытки разработать типологию некоторых форм марийского женского костюма предпринимались в советский пе риод М.Т. Маркеловым, Т.А.Крюковой и Н.И.Гаген-Торн. Наши материалы дают возможность представить элементы костюма марийцев более детально, с выделением типов, подтипов и вариантов. Данная ниже типология характеризует одежду второй половины XIX века -начала ХХ вв. На ее основе выделены комплексы костюма, представляющие сочетание определенных частей одежды, головного убора и украшений.

Рис. 1. Покрой женской рубахи первого подтипа первого варианта.

Рис. 2. Покрой женской рубахи первого подтипа второго варианта.

Рис. З. Покрой женской рубахи второго подтипа первого варианта.

Рис. 4. Покрой женской рубахи второго подтипа второго варианта.

Рис. 5. Покрой женской рубахи второго подтипа третьего варианта.

Рис. б. Покрой женской рубахи второго подтипа четвертого варианта.

Карта 1. Территориальное распространение различных вариантов женской рубахи.

Таблица 1. Расположение вышивки на рубахах различных территориальных групп марийцев:
а) горномарийская;
б) луговых марийцев звениговско-моркинской группы;
в) луговых марийцев сернурско-торъяльскои группы.
Нательная одежда.
Женская рубаха (тувыр, тыгыр) из холста, составлявшая основу народного костюма, была лишь одного типа -туникообразного покроя: кусок холста, перекинутый со спины на грудь составлял стан; в нем делался разрез для ворота. К этой центральной точе по прямой нитке пришивались невырезные рукава (шокш) с ластовицами (олто, кыштек) четырех или треугольной формы; с боков, под рукавами, захватывая их, помещались боковины. Хотя рубаха у всех групп мари была однотипной - туникообразной, существовали локальные отличия в покрое нижней части рубахи и рукавов, в расположении грудного разреза, а также в характере орнаментации. По этим локальным особенностям можно выделить подтипы и их варианты. Подтипов было всегда два: 1) все основные элементы - стан, боковины, рукава - скроены по прямей нитке; 2) стан скроен по прямой нитке, а боковины и рукава - со скашиванием полотнищ. Немаловажное значение для выделения вариантов женской рубахи имеет расположение грудного разрезд. Он мог быть: 1) на правой стороне; 2) в центре. У луговых марийцев бытовали оба этих варианта. У горных преобладал центральный разрез.
В пределах первого подтипа выделяются два варианта: 1) рубаха, с грудным разрезом на правой стороне (рис. 1); 2) рубаха с грудным разрезом в центре (рис. 2).
во втором подтипе со скашиванием представлены 4 варианта: 1) рубаха с центральным грудным разрезом со слегка суженными к кисти рукавами, между станом и боковыми прямыми полотнищами пришивались клинья (рис. 3); 2) рубаха с центральным грудным разрезом со слегка суженными рукавами, к стану пришивались скошенные боковые полотнища, каждое из которых состояло из двух раскошенных половинок (рис. 4); 3) рубаха с грудным разрезом на правой стороне с суженными рукавами, с прямым станом и боковинами, но с клиньями между ними (рис. 5); 4) рубаха с грудным разрезом на правой стороне с суженными рукавами, к стану пришивались скошенные боковые полотнища и клинья (рис. 6). Распространение различных типов и подтипов женской рубахи показано на карте 1.
Наиболее архаичные рубахи первого подтипа - без клиньев в подоле и без скашивания. Первый ее вариант (с правым асимметричным грудным разрезом) бытовал среди мариек Яранского уезда Вятской губернии и небольшой части Царевококшайского уезда Ка занской губернии, второй вариант (этого подтипа) с центральным грудным разрезом - в Царевококшайском уезде.
Два первых варианта второго видоизмененного подтипа туникообразной рубахи со скашиванием с центральным грудным разрезом бытовали среди горных мариек и небольшой локальной группы кок- шамарских мариек. С начала ХХ века эти варианты постепенно преобразовываются, вместо архаичной вышивки появляются декоративная съемная нагрудная вышивка (мел) и наплечные вышивки (пасна вачыгач), выполненные на отдельных кусках ткани.
Третий вариант второго подтипа был распространен в южной части Уржумского уезда Вятской губернии. Четвертый вариант рубахи - в большей части Уржумского уезда.
По мнению Н.И.Гаген-Торн, рубаха луговых мариек сильно отличалась от рубахи горных. На наш взгляд, покрой и орнаментация ранней традиционной женской рубахи горных мариек принципиальных различий не имела, а была во многом сходна с рубахой луговых мари. Предположительно, более старинная рубаха горномариек имела не центральный грудной разрез, а смещенный вправо (первый вариант). По всей вероятности размещение трудного разреза в центре основной точи холста возникло в более поздний период - ко второй половине XIX века. Возможно, этот конструктивный элемент был заимствован у чувашей, рубаха которых имела именно такой разрез в области груди.
Орнаментация рубах различных локальных групп имела специфические особенности, определявшиеся давними традициями. Женские рубахи различных территорйальных групп луговых мари также имели особенности и в украшении вышивкой (табл. 1). Орнаментация раз личалась не только местом расположения на рубахе, но и цветовым сочетанием, сортом ниток, мотивами вышивки. Наиболее богатой отделкой отличалась женская рубаха мариек Царевококшайского уезда, на которой вышивка располагалась не только на груди (мел тӱр), концах рукавов (шокш мучаш тӱр), подоле (урвалте йыр тӱр, пац тӱр), как на рубахах луговых мариек Уржумского уезда, но и вдоль всех швов (ургыш воктен тӱр), вдоль всего рукава (ерга), на уровне груди (поштӱр), на спине (туп йыр тӱр). Для орнаментации такой рубахи марийки этого уезда применяли главным образом крашеную шерстяную пряжу, в отличие от мариек Уржумского уезда, где с первой четверти XIX в. вместо шерсти употребляли шёлковые нитки. Отделка рубах лентами, тесьмой, пуговицами, бисером, как и расположение вышивки, определялись также давними традициями.
В конце XIX века у горных мариек рубаха имела скудную орнаментацию, хотя до середины данного столетия она отличалась богатой вышивкой. Изменение ее характера объясняется вытеснением конопляного холста тонкой домотканиной из фабричных ниток, на которой вышивка соответственно стала мелкой.
Отличались рубахи различных территориальных групп и способом ношения: в северной части края она подбиралась поясом так, что складки собирались спереди; в южной части Уржумского уезда складки на рубахе располагались сзади и над бедрами; у горных мари - напуском.
Туникообразная рубаха широко бытовала во всем Среднем Поволжье. Б.А.Куфтин выделил два подтипа рубах, характерных для народов этого региона. К первому подтипу он отнес рубаху мордвы-эрзи с двумя полотнищами из цельных точей холста, перекинутых через плечи и сшитых посередине. Ко второму - нательную рубаху марийцев и других народов Урало Поволжского региона (чувашей, удмуртов, мордвы-мокши).
«Тыгыр» горных мариек конца Х1Х-начала ХХ вв. по покрою и вышивке был аналогичен рубахе соседних чувашек-виръял. Рубаха луговых мариек во многом схожа по покрою и орнаментации с данным элементом одежды чувашек группы анат-енчи и мордвы-мокши.

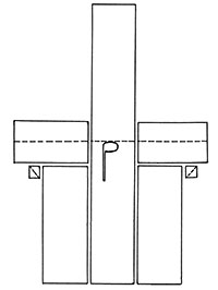
Рис. 7. Покрой женских штанов с клиньями.

Рис. 8 . Покрой женских штанов с гашником.
Штаны (йолаш, ялаш)
у поволжских марийцев относились
к типу штанов с узким шагом. Они состояли из штанин и клина между ними, который
создавал ширину шага (рис. 7). Традиционные штаны имели 4 завязки: две задние завязывались
спереди, две передние - сзади, укреплялись они низко на бедрах.
У горных мари с начала ХХ века завязки на штанах начинают заменяться гашником (касникан ялаш, рис. 8), как на мужских штанах.
Длина штанов у луговых мариек доходила до середины голени, у горных - до щиколоток. У последних штаны виднелись из-под рубашки, но это не считалось зазорным. Они скреплялись на поясе при помощи нитяной веревочки, продетой, в верхний край штанов, подшивавшихся широким рубцом. У мари для всех женщин было характерно ношение штанов, в то время как у других финноязычных народов были группы,где их совсем не носили (северные удмурты, мордва-эрзя).
Штаны с узким шагом были характерны и для других народов Среднего Поволжья (чувашей-виръял, южных удмуртов, мордвы-мокши и др.). Н.И.Гаген-Торн считала штаны такого типа характерными для лесных, охотничьих народов.
Верхняя одежда.
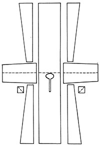
В традиционном женском костюме она представ лена кафтанами: летними из белого холста, осенне-весенними из сукна, зимними суконными утепленными кафтанами и шубами из овчин. Летние и теплые кафтаны в целом имели однотипный покрой, который отличался локально. В то же время каждая разновидность имела и свои особенности, которые позволяют выделить их варианты. Верхняя легкая одежда из ткани была трех типов: 1) туникообразная; 2) с выкройной проймой и отрезной в талии; 3) переходная.

Рис. 9. Покрой легкого женского кафтана первого типа первого варианта.

Карта 2. Территориальное распространение различных вариантов женских легких кафтанов.

Рис. 10. Покрой легкого кафтана второго варианта первого типа.

Рис. 11 . Легкий женский кафтан второго типа.

Рис. 12 . Легкий женский кафтан третьего переходного типа.

Рис. 13. Легкий женский кафтан второго типа.

Карта 3. Территориальное распространение женских теплых кафтанов.
Ко второму варианту первого типа относится туникообразный прямоспинный приталенный кафтан с прямыми полами и 3-4 клиньями в боках с каждой стороны, украшенный вышивкой у ворота, на конце рукавов и подоле (рис. 10). Подобный кафтан был распространен сре ди луговых мариек Уржумского уезда.
Ко второму типу относится кафтан с выкройной проймой со швом на плече, с отрезной талией, сборчатый, с небольшим стоячим воротничком, без орнаментации, напоминающий русскую поддевку (рис. 11). Кафтан этого типа бытовал среди горных мари. Такой тип верхней летней одежды появился в их среде в конце XIX века, быстро вытеснив другие формы легкой верхней одежды. До этого периода у горных марийцев бытовал короткий туникообразный кафтан со слегка приталенной спинкой и боковинами (ала шавыр), богато украшенный вышивкой, лентами на груди и спине, который мы относим к третьему переходному типу. Однако к концу XIX века «ала шавыр» (рис. 12) применялся как свадебная принадлежность костюма свахи и невесты. Этот факт дает основание полагать, что кафтан с отрезной спинкой и сборками пришел на смену женской прямоспинной летней верхней одежде у горных марийцев.
Значительно позже кафтан второго типа появился в комплексе одежды всех луговых мариек. В начале ХХ века он проникает в одежду мариек северной части Царевококшайского уезда под названием «рушла шовыр» - «русский кафтан» (рис. 13). Такая верхняя одежда луговых мариек была короткой, так как подол рубахи орнаментировался, полагалось, чтобы он выступал из-под кафтана. В холодный период осени и весны марийцы носили теплую верхнюю одежду (мыжер) из грубого домашнего сукна с суженными к кисти рукавами. Характер ворота зависел от назначения верхней теплой одежды. На праздничных кафтанах ворот был открытым, на будничных - закрытым. Праздничные кафтаны шили из белого или серого сукна (ош мыжер, луды мыжер) и украшали по краям фабричной тесьмой. На будничные кафтаны употреблялось сукно коричневого или черного цвета (шем мыжер). Теплые суконные кафтаны подразделяются на три типа: 1) туникообразный; 2) с выкройкой проймой, т.е. со швом на плече, прямоспинный; 3) с выкройной проймой, отрезной в талии. Распространение различных типов суконных кафтанов на территории края показано на карте 3.
К первому типу осенне-весенних кафтанов относится туникообразный, прямоспинный расклешенный книзу за счет клиньев кафтан, который имел небольшой стоячий воротник. Этот тип был распростра нен среди луговых мариек Яранского уезда.
В пределах второго типа прямоспинной суконной верхней одежды со швом на плече выделяются два варианта. К первому варианту относится кафтан, расклешенный за счет клиньев. Он имел шалевый воротник, который на спине заканчивался четырехугольником. К это му же варианту необходимо отнести и свадебный кафтан из тонкого черного фабричного сукна (шем сывын), имевший расклешенный покрой. Однако расширялся он к подолу не при помощи клиньев, а за счет ширины фабричной ткани. Ворот празднично-обрядового кафтана богато украшался кумачом, позументом, раковинами каури. Кафтан такого покроя был распространен среди части луговых мариек Царевококшайского уезда Казанской губернии и в Яранском уезде Вятской губернии.

Рис.14 Традиционный сваадебный женский кафтан горных мариек.
Третий тип теплого кафтана со швом на плече, отрезной сборчатый кафтан (пӱреман мӹжар) с глухим воротом был распространен к концу XIX века среди горных мариек. Наиболее ценным у данной группы считался кафтан такого покроя из тонкого фабричного сукна (посто мӹжар) который стремились справить в приданое девушке-невесте.
По покрою зимние суконные кафтаны не отличались от весеннеосенних. Только зимние кафтаны утеплялись в верхней части при помощи пакли (у луговых) и ваты (у горных). Поскольку по конструкции они не отличались, мы не выделяем зимние кафтаны в особые типы.
Зимой женщины надевали шубы из овчин черного или коричнево красного цветов. Шили шубы со швом на плече, отрезными в талии, а ниже талии - сборчатыми, нередко края их украшались машинной строчкой, тесьмой, а у горных мариек — желтым мехом — «котик».
Количество шкур, используемых на шубу, зависело от состоятельности заказчика. Богатой считалась шуба с большим количеством сборок, на которую уходило 10-12 овчин. Наиболее ценной у всех групп марийцев считалась шуба, покрытая фабричным сукном (ӱмбалан ужга). Традиционные шубы у луговых и горных мариек были аналогичными по покрою, известному марийцам издавна, что подтверждают археологические материалы IХ-ХI в.в. - остатки отрезного в талии, сборчатого кафтана из телячьей кожи.
В зимнее время, отправляясь в дорогу, женщины пользовались мужскими прямоспинными тулупами и чапанами, которые имели шов на плече. Только женщины из богатых семей имели специальные тулупы, которые по покрою не отличались от мужских, но имели воротник из мерлушки.
Верхняя распашная туникообразная орнаментированная холщовая и суконная одежда во многом аналогична кафтанам других народов Поволжского региона - удмуртов, мордвы, чувашей. Однотипной у них была теплая одежда (суконные кафтаны, шубы), сшитые в талию, с отрезной спинкой и сборами или клиньями, в распространении верхней одежды (осенне-весенней и зимней) одинакового покроя немаловажную роль сыграли портные-отходники, которые переходили из одного селения в другое в многонациональном Среднем Поволжье. Пояса, передники и поясные украшения являлись важной частью марийского женского костюма. Различные виды поясов (кожаные, шерстяные и др.) и прикреплявшиеся к ним декоративные и утилитарного назначения элементы — поясные подвески, мешочки для хранения разных вещей - известны по археологическим материалам IХ-ХХ в.в.
Пояса подразделяются на два вида - повседневные и праздничные. Будничные пояса (ӱштӧ, ӹштӹ) длиной до 2-2,5 метра и шириной 2-4 см ткали из разноцветной шерстяной, реже шелковой пряжи. К таким поясам привешивались мешочки (янцык ) для хранения денег, иголок, ниток и т.д. Празднично-обрядовые пояса украшались монетами, кистями, бусами, пуговицами, поэтому они назывались - «шиян ӱштӧ» (пояс с серебром).
Для опоясывания верхней одежды применяли самотканные шерстяные кушаки (пота, потаӱштӧ) из шерстяных и конопляных ниток, длиной до 2,5-3 метров, шириной - 10-15 см. С конца XIX века в костюме мариек появляются яркие фабричные кушаки.
На поясе женщины носили холщовые вышитые подвески. Материалы ГМЭ позволяют выделить три типа орнаментированных поясных подвесок: однолопастные; двулопастные парные; узкие поясные полотенца с вышитыми концами. По нашим полевым материалам однолопастные поясные подвески и полотенца бытовали у луговых мариек. Второй тип - у горной группы. У последних раньше, чем в других группах, подвески, выйдя из употребления (к началу ХХ в.), были заменены шелковыми поясами (парсын ӹшты) и поясной завязкой фартука (запон кӓндыра) представлявшей самостоятельный элемент в костюме. Запон кандыра состоял из прямоугольного кусочка холста с нашитой на него лентой в виде банта или куска однотонного ситца или сатина. К фартуку он прикреплялся при помощи булавок.
У основной части луговых мариек поясные подвески сохранялись в свадебно-ритуальном костюме до 40-х годов ХХ столетия. Пояс играл важную роль в костюме племен и народов, занимавшихся земледелием, охотой и собирательством. Носили его с рубахой туникообразного покроя. Этот элемент одежды был характерен для многих народов Европы. Луговые и горные марийки всегда подпоясывали одежду, только у группы восточных мари можно было встретить женщину в неподпоясанной рубахе, что связано с влиянием соседних татар и башкир.
Передник (ончылшовыч, анзылвач) по праву считается поздним элементом в общем комплексе марийской народной одежды. В дореволюционной этнографической литературе начала второй половины XIX века отмечалось, что марийские женщины и девушки поверх рубах, «как дома, так и везде во время лета ничего на себя более не надевают», а во время свадеб «вместо фартука черемиски подвязывают большие шелковые платки...». По-видимому, передник в костюмном комплексе мариек появляется не раньше второй половины XIX века. По нашим материалам, в начале ХХ века были распространены два подтипа передников: первый без грудки, второй с нею. Передник без грудки имел два варианта: первый состоял из одной точи холста и был богато украшен вышивкой, тесьмой, кружевом (луговые марийцы Царевококшайского уезда); второй - из одной точи холста с двумя боковыми половинками, украшенными вышивкой шелковыми нитками у луговых мариек северной части Царевококшайского и Уржумского уездов. Распространение различных типов передников в Марийском крае показано на карте 4.

Карта 4. Территориальное распространение различных типов перелников.
Головные уборы.
У марийцев, как и у других народов России,
женский головной убор отличался в зависимости от ее семейного
положения. Головные уборы подразделялись на девичьи и женские.
Сложные головные уборы типа повязок (вуйоҥго, вуйшӱдыш, саҥга теҥге),
как свидетельствуют об этом археологические материалы, в
прошлом широко бытовали у марийцев, у поволжских марийцев
были два варианта подобного головного убора: 1) повязка венец,
сплетенная из шерстяных ниток, украшенная бисером и монетами;
2) повязка венец на кожаной основе с монетами.
К концу XIX века девичья налобная повязка превратилась в головное украшение, состоящее из монет, бус и бисера, что подтверждают материалы музеев.
Основным головным убором девушек был платок (шовыч, солык, савыц): будничный - из холста, в праздники - надевался покупной, фабричный. Он складывался по диагонали, а концы его завязывались под подбородком.
Замужние женщины носили головные уборы четырех типов: 1) каркасные остроконечные «шурка» и «шымакш» (чурик, калпак), 2) лопатообразная «сорока»; 3) мягкий полотенчатый «шарпан»); 4) платки.
Женские головные уборы мариек имеют сложное происхождение. Наиболее древним, как следует из первого письменного упоминания о марийских головных уборах Олеария, можно считать высокий головной убор на каркасе «шурка». Название этого головного убора происходит от слова «шур» - рог, «шурка» - дословно переводится «рогатый». Он представлял собой берестяной или кожаный остов высотой до 40 см, обтянутый кумачом с длинной холщовой лопастью сзади, которая прикреплялась к поясу. Этот головной убор в прошлом был распространен среди всех групп марийцев, у небольшой группы некрещенных луговых мари (чимари) в Уржумском уезде и восточных марийцев «шурка» употреблялась как свадебный головной убор во второй половине XIX века. По полевым материалам, у первой группы данный головной убор сохранял значение обрядового у невесты еще в начале ХХ столетия. У остальных групп марийцев, вероятно, шурка вышла из употребления во второй половине XIX века.
Древний марийский женский головной убор находит аналогии с подобными уборами других народов: мордвы (панго), удмуртов (айшон), казахов (саукеле). Вероятным источником его происхождения считается скифский головной убор.
Существует мнение, что остроконечный «шымакш» является более поздней формой шурки. Действительно, он напоминает уменьшенный вариант старинного каркасного убора. Это прямоугольный кусок холста (55-20 см), один конец которого сшивался в виде колпачка. Весь головной убор богато украшался вышивкой. На голове он закреплялся при помощи берестяного или войлочного колпачка. Шымакш — один из древних уборов марийцев, который бытовал не только среди женщин, но и у мужчин. Наиболее древний его вариант имел несколько иную форму. У него не было твердого остова, и состоял он из прямоугольного куска холста (71-37 см), сшитого с одной стороны в виде колпачка. На конце убора имелась небольшая орнаментация вышивкой, состоящей из трех розеток. Подобный башлык закреплялся на шее при помощи нитяных завязок. У горных мариек такой головной убор бытовал до 20-х годов ХХ в., а у луговых (юговосточных районов) — вплоть до 40-х годов. У последних, по сведениям информаторов, его носили женщины старшего возраста в качестве головного убора после бани, надевали на время сна, при головных болях, причем бытовал он наряду с полотенчатым женским убором шарпан.
Шымакш с твердым колпачком у луговых (Уржумский уезд) и восточных (преобладающий женский убор этой группы) мари, очевидно, является более поздним явлением, возникшим в результате слияния двух головных уборов - шурки с твердым каркасом и мягкого древнего шымакша. Территориальное распространение шымакша по казано на карте 5.

Карта 5. Территориальное распространение различных типов женских головных уборов.
Сорока - второй тип каркасного головного убора. Старинная сорока состояла из очелья (сорока саҥга), державшегося на твердой прямоугольной основе из бересты или кожи (12-20 см). С боков к очелью пришивались завязки или «крылья». Конец головного убора (сорока поч) спускался на плечи. Головной убор надевался на холщовую шапочку-волосник (упш). Сорока в прошлом богато орнаментировалась зооморфными мотивами. С начала ХХ в. начинается постепенное уменьшение размеров очелья сороки; этот процесс усиливается в 30-е годы нашего столетия.
Сорока не является архаичным женским головным убором марийцев. Например, в некоторых селениях Пижанского района Кировской области еще помнят о том, что раньше здесь бытовала не сорока, а шымакш. Здесь марийцы называют сороку «марья вуй», что означает «русская голова». Т.А.Крюкова вполне обоснованно считала, что сорока у мариек на современной территории республики была заимствована от яранских мариек, которые в свою очередь переняли ее у русских. Воспринятую форму головного убора они украшали своими орнаментальными мотивами. Были случаи, когда старые головные уборы переделывали в сороку. Так, в фондах Государственного музея ТССР хранится сорока, переделанная из шымакша.
Третий головной убор, бытовавший у всех трех этнографических групп мари, был сложным - составным . Он представлял собой мягкий полотенчатый «шарпан» из холста, носившийся всегда в комбинации с вышитым начелышем «нашмак». Шарпан представлял полотенце (2 м-0,3 м), богато украшенное по краям вышивкой, тесьмой. Нашмак - узкая орнаментированная полоска холста, которая прикреплялась с помощью металлических заколок (вуй име). У луговых мариек они были длиной около 20-25 см, шириной 5 см, у горных - соответственно - 45-50 см и 4 см. У разных этнографических групп имелись различия не только в размерах нашмака, орнаментации, но и в способе ношения головного убора в целом. Луговые марийки (Царевококшайский уезд) закрывали шарпанем шею, затылок и косу полностью подобно тому, как чувашки-анатри и анат-енчи надевали аналогичный головной убор «сурпан». В отличие от луговых, горные марийки им закрывали не голову, а шею и косу, как это делали чувашки группы виръял. Вероятнее всего,такой способ ношения этого головного убора связан с тем, что в XIX веке у горных мариек существовал и другой головной убор - «ошпу», который закрывал голову. «Ошпу» исчез, а способ надевания шарпана остался прежним, т.е. он не закрывал все волосы полностью.
В начале ХХ века шарпан луговых мариек видоизменился и преобразовался в две части: «кумлук шарпан» - верхняя, короткая часть, закрывавшая голову; «шарпан поч» - «хвост» головного убора, прикреплявшегося к первой части.
Полотенчатый головной убор шарпан имеет прямые аналогии с уборами тюркских народов - башкир и татар (тастар), чувашей-анатри (сурпан), с которыми марийцы жили в близком соседстве и у которых, видимо, его заимствовали.
Четвертый тип головного убора - платки из холста с вышивкой. Их носили поверх остроконечного шымакша и сороки. Зимой надевали теплые платки-шали (кугу шовыч), сотканные из шерстяных ниток. Традиционные холщовые платки были двух подтипов: 1) треугольной формы, носившиеся с остроконечным шымакшем; 2) четырехугольный платок бытовал в районах распространения сороки.
Платок последней формы надевался своеобразно: два его конца на кладывались таким образом, чтобы были видны вышитые розетки. Обязательной принадлежностью свадебного наряда невесты всех групп марийцев было богато вышитое покрывало, которое сшивалось из трех полос холста. У горных оно называлось «кӱкӱ», у луговых и восточных марийцев - «пыргенчык», «вӱргенчык». В начале ХХ века холщовые покрывала выходят из употребления, на смену им пришли фабричные шелковые платки (порсын шовыч).
Шапки (упш)
в прошлом широко употреблялись в зимний период.
Как свидетельствуют данные археологии, марийки пользовались ими
с давних пор. У них бытовали два типа женских шапок. Первый
тип, употреблявшийся во второй половине XIX века, в качестве
свадебно-обрядовой принадлежности невесты и женщин у луговых и
горных мари, является наиболее архаичным (карта 5). Высокий суконный
верх шапки имел четырехугольную форму, для которого употреблялось
красное (малиновое) сукно или плис (хлопчатобумажный
бархат). У луговых опушка такой шапки была из меха лисы —
«рывыж упш» (лисья шапка), у горных мари - бобра (ындыр тыран упш).
У последних верх шапки украшался разноцветной фабричной
тесьмой. Подобная шапка у горных марийцев вышла из употребления
к концу XIX века. Шапка с лисьим мехом сохранилась в свадебном
костюмном комплексе мариек северо-восточных районов МАССР до
наших дней.
Шапка второго типа из мерлушки серого или белого цвета с круглым суконным верхом бытовала среди части луговых (Царевококшайский уезд) и горных мариек (карта 5). У первых она называлась «крымский упш», у вторых - «ыслык». У луговых мариек она использовалась и в качестве свадебного головного убора как невесты, так и жениха, а также праздничного зимнего головного убора женщин. Такие же шапки типа кубанки были распространены среди чувашек группы анат-енчи и юго -восточной подгруппы виръял.
Головной убор в общем комплексе женской одежды занимал одно из самых важных мест. Он был знаком, указывающим на этническую принадлежность, возраст и социальное положение носительницы. У женщин-мариек в прошлом считалось большим грехом показаться на людях без головного убора. Без него могли ходить только девушки. Каждому вышеописанному женскому головному убору соответствовали определенные типы причесок, которые отличались по сложности исполнения. Девушки-марийки, как и у многих народов Европы, заплетали волосы в одну косу. Смена прически на женскую происходила во время особого обряда, во время которого происходила и смена головного убора. Это символизировало переход девушки в группу замужних женщин.
Прически.
Женщины, носившие остроконечный шымакш, убирали волосы таким образом, чтобы можно было закрепить остроконечный твердый колпачок с палочкой в области темени, на который затем надевался головной убор. С этой целью по бокам теменной части головы заплетали две маленькие косички, которые скручивали вокруг колпачка. Остальные волосы заплетали в одну косу в нижней части затылка и поднимали к твердому остову головного убора, закрепив при помощи палочки этого колпачка. Конец косы завертывали вокруг него (рис. 15).

Рис.15. Женская прическа, носивших головной убор шымакш.

Рис.16. Женская прическа, носивших головной убор калпак.
Рис 17. Женская прическа, носивших головной убор сорока.
Рис.18. Женская прическа, носивших головной убор шарпан.
Волосы мариек, надевавших лопатообразную сороку, укладывались следующим образом: по обе стороны затылка они убирались в две косы, в которые вплетали тесьму, затем их завертывали вокруг головы надо лбом и закрепляли при помощи вплетенной тесьмы (рис. 17). У женщин, носивших полотенчатый шарпан, прическа состояла из двух маленьких и двух больших кос: первые заплетались по двум сторонам теменной части головы, спускались к затылку и вплетались в две другие. Концы этих кос соединялись при помощи тесьмы и прикреплялись к поясу (рис. 18).
Обувь.
Традиционная обувь мариек подразделяется на три типа:
лыковую (будничная), кожаную (праздничная) и шерстяную (валенки).
Самой распространенной обувью марийцев были лапти (фото 1).
Повседневные лапти плелись из семи лык (шым ниян йыдал),
а праздничные - из девяти (индеш ниян йыдал). Они иногда
в носовой части украшались лентой, вплетавшейся вместе с лыком.
В весенне-осенний период к ним пришивали деревянную подошву
(кӧтӧрма, шакляка) высотой 3-4 см, чтобы в обувь не проникала вода.

Фото 1. Женские лыковые лапти луговых марийцев.

Фото 2. Горномарийские женские лапти.

Фото 3. Женские сапоги.
Лапти горных мариек имели очень маленькую головку шириной 1,5-2 см, поэтому к ней прикреплялись тонкие веревочки из лыка (ялгач), чтобы они лучше держались на ступне (фото 2).
Поволжские марийки всегда носили лапти в сочетании с белыми холщовыми (ыштыр) и черными суконными онучами (вургыш тыр). Голени луговых мариек, особенно в северо-восточных районах края, завертывались довольно толсто и были похожи на два ровных столбика.
У горных мариек стопа и голень полностью обертывались черными онучами, но не так толсто, как у луговых. Для последних было характерно ношение паголенок (сылма) с лаптями в зимний период. Их шили из черного или зеленого сукна. Паголенки закрывали часть голени и бедра.
Способ ношения обуви имел четко разграниченные территориальные особенности, заключавшиеся в украшении шерстяных онучей, а самое главное - в способе завязывания обор (керем). Горные и часть луговых (Царевококшайский, Яранский уезды) мариек завязывали оборы у колена, женщины Уржумского уезда - на середине голени.
Суконные праздничные онучи луговых мариек украшались тесьмой, бисером, пуговицами, монетами, тогда как у горных мариек не было никаких украшений.
Из липового лыка, а иногда из бересты плели «ступни» (пошмак, ката). Данный тип обуви использовался редко и только во время домашних работ. Лыковые лапти с онучами носили подобным образом, как и марийцы, женщины других народов Поволжья (мордва, удмурты, чуваши). Такой способ ношения обуви, вероятно, возник не только по практическим соображениям - для защиты ног от холода и от укусов насекомых, но и в связи с эстетическими представлениями народов этого региона.
Кожаная обувь ценилась, ее старались надевать только в праздничные дни. У поволжских мариек употреблялся один тип обуви - сапоги (кем), нижняя часть голенища которых была собрана в гармошку (фото 3).
Валенки (портышкем, межгем, мижгем) носили представительницы состоятельных семей. Наиболее зажиточная часть марийского населения приобретала фабричные валенки с узорами на голенищах.
Украшения.
Обязательной принадлежностью марийского костюма были съемные украшения. По археологическим материалам, различные украшения богато представлены у марийцев уже в IХ-ХI вв.: головные, шейные, нагрудные, наручные. Металлическими украшениями отделывалась одежда, головные уборы, обувь, другие части и детали костюма.
Как указывалось выше, в конце XVIII в. правительство запретило некоторым народам Поволжья, в том числе и марийцам, заниматься металлообработкой. Это в свою очередь привело к утрате навыков ремесла по производству металлических украшений. В XVIII веке широко распространяются украшения из монет, раковин каури, бисера, бус, пуговиц и т.д.
В отличие от мужского женский костюм, особенно праздничный, включал целый набор разнообразных украшений: головных, шейнонагрудных, поясных, для рук.

Рис.19. Женское затылочное украшение «вуй шыркама».

Рис.20. Женское наушное украшение «серга гыл».

Фото 5. Наушное украшение «алга».
«Вуй име», или «нашмак ончыл» - в виде узкой полосы ткани, зашитой двумя рядами серебряных монет. Такое украшение носили женщины луговых мари в юговосточной части края (фото 4).
Затылочные украшения.
«Вуй шыркама» - сюльгама с подвесками из монет - прикалывалась к праздничному женскому головному убору «шымакш» и к волосам в области затылка (рис. 19). Бытовала только среди луговых мариек Уржумского уезда Вятской губернии до 20-х годов ХХ века.
Наушные украшения.
Парные украшения «серга гыл», скрепленные тесемкой, представляют подвески в форме «знака вопроса» из проволоки, украшенные металлической или стеклянными бусинами (рис. 20). Образцы их в Марийском крае встречаются в материалах поздних могильников. Серьги в форме знака вопроса входили в состав комплекса украшений мордвы, чувашей, ногайцев.
Одним из древних женских ушных украшений (название утрачено) были подвески, состоящие из семи кусков проволоки, спаянных на одном конце и согнутых в виде когтей. Такие украшения носили луговые марийки Чебоксарского и Царевококшайского уездов Казанской губернии и горные.
Наушные украшения «пылыш окса», «оҥылаш йымал», «пылыш теҥге», «алга» (фото5) из узкой полосы кожи или ткани, зашитой с лицевой стороны рядом монет, имели петли, надевавшиеся на ушную раковину и были распространены среди всех групп марийцев. В нижней части петли находятся дополнительные подвески из монет. Некоторые украшения соединены тесьмой, низкой бусин и монет, цепочкой, сплетенной из бисера, которая проходит под подбородком. Такие украшения луговых мариек северо-восточных районов края в ушной части украшались шариками из меха зайца, подкрашенного в розовый цвет.
Серьги («кӧрж», «алга») являлись украшением мариек всех групп. Они состояли из металлического крючка, вдеваемого в мочку уха. Приобретались у торговцев-разносчиков или на местных базарах. Головные повязки «ӱп оҥто», «ӱпине поч» из нескольких ниток бисера, украшенных монетами или пуговицами. Повязки дополнены спускающимися наспинными подвесками, нанизанными из бус, трубочек и заканчивающимися кисточками из бисера или шерсти. Такое украшение носили девушки (рис. 21).

Рис.21 . Девичье головное украшение «ӱп онто».

Рис.22. Женское головное украшение «ошпу».

Рис.23. Головное украшение-косник («ӱпкандыра»).

Фото 6. Шейное украшение «шӱшер».

Фото 7. Шейно-нагрудное украшение «аршаш».

Фото 8. Шейно-нагрудное украшение как обрядовое украшение свахи «гайтан».

Фото 9. Горномарийка в нагрудном украшении «шыркама».

Рис.24. Нагрудное украшение «почкама».
Украшения кос.
У поволжских мариек бытовал косник (ӱпкандыра) в виде тесьмы или ленты, на концах которой пришивалось несколько монет, иногда шерстяная бахрома с бисером. Косник из тесьмы с латунными трубочками-пронизками бытовал еще в начале ХХ века среди луговых мариек юго-восточной части края (рис. 23). Подобное украшение, видимо, является отголоском старинного «ӱпине» , бытовавшего в прошлом у многих групп мари, что подтверждают археологические материалы. Шейные ожерелья (шӱшер, шӱаш) из бисера, бус, монет бытовали у всех групп марийцев (фото 6). В северо-западной части края в состав комплекса украшений входил суконный воротник с нашитыми на него монетами и раковинами каури.
Шейно-нагрудные украшения (аршаш, он лопчак, пий йылме, гайтан) состояли главным образом из монет. Они имели различную форму (фото 7, 8). У горных мариек были очень популярны ажурные серебряные цепочки (цепошка). Нагрудные застежки - пряжки-фибулы и булавки - скрепляли разрез рубашки: 1) «ширкама» из металлической пластинки овальной формы с незагнутыми концами. Аналогичные украшения имелись и у других народов Поволжья (мордвы, чувашей). Эти фибулы нередко дополнялись подвесками, цепочками, низками бисера и бляшками. 2) кожаные подвески прямоугольной и трапецивидной формы обшивались имитациями монет и раковин каури. Прямоугольной формы фибулы (ширкама) бытовали у горных, трапецивидной (почкама) - у луговых марийцев^ (фото 9, рис. 24). Подобные подвески возникли в результате длительной эволюции пряжки-фибулы.
Черезплечные украшения.
1. «Аршаш» - из узкой шерстяной тесьмы в виде двух пересекающихся окружностей. По его внешнему краю нашит ряд бусин и раковин каури. Носили его крест-накрест, через оба плеча в юго-восточной части края.
2. «Аршаш» в виде широкой полосы холста, крытой кумачом. Оно зашивалось имитациями монет, раковин каури. Бытовало среди горных мариек, а к началу ХХ века вышло из употребления.
Украшения для рук
- браслеты, кольца и перстни. Браслеты («кидшол»), литые из узкой пластинки с незамкнутыми концами, покрыты геометрическим и растительным орнаментом. Они были распространены у всех групп марийцев. Кольца и перстни («шергаш») носили как девушки, так и замужние женщины. Их приобретали на местных рынках или у торговцев-разносчиков.
Поясные украшения.
Женский костюм обязательно дополнялся поясными украшениями. О набедренных украшениях мы упоминали выше. Они представляли собой прямоугольные куски холста с вышивкой и нашитыми на него монетами, бисером, раковинами и бахромой. На поясе марийские женщины носили металлические гребешки, игольники, ножи и кожаные сумочки. Сумочки «янцык», «калта», «чондай» овальной формы из кожи на вздержке из тонкого ремешка или тесьмы.
Все перечисленные виды украшений составляют национальный комплекс украшений марийцев Х1Х-начала ХХ веков, который распадается на отдельные комплексы различных территориальных групп марийцев. В начале ХХ в. общая тенденция упрощения костюма коснулась и украшений: наиболее сложные и неудобные для ношения формы вышли из употребления.
***
Рассмотренный материал показывает сходство марийского народного костюма с одеждой других финноязычных, тюркских народов и русских Среднего Поволжья. Этому способствовали не только этнокультурные контакты, но и сходные хозяйственные условия. Для многих народов, как и для марийцев, в конструкции рубах и верхней одежды характерным был туникообразный покрой. Это один из древних типов костюма. Подобный покрой одежды был рационален и удобен, во-первых, потому, что после кройки не оставалось ни одного лишнего куска ткани, во-вторых, благодаря свободному покрою, а также наличию ластовицы в области соединения рукавов с боковинами, не сковывались движения рук, что было важно при выполнении разных сельскохозяйственных работ - косьбе, молотьбе и т.д. Покрой одежды людей разного пола и возраста был одинаковым, варьировались только ширина и длина рубах, кафтанов. Длина их доходила обычно до середины голени.
Многие составные части марийского народного костюма (рубахи, летние кафтаны, передники, штаны, головные уборы) как женские, так и мужские шили вручную. Орудиями производства при этом были иголка, ножницы, деревянная швейка, наперсток. Верхнюю одежду - мужские и женские суконные кафтаны, овчинные шубы и полушубки, чапаны - шили местные мастера или портные-отходники. Среди последних были представители разных народов: русские, чуваши, татары. Обычно после окончания сельскохозяйственных работ, портные, как и другие ремесленники, отправлялись на заработки по деревням. Портняжным промыслом занималось мужское население целых деревень, ходили как по марийским деревням, так и по селениям, расположенным за пределами края. Таким отхожим промыслом, например, занимались жители русского селения Шоя-Кузнецово Царевококшайского уезда Казанской губернии. Портные путешествовали и по Марийскому краю, останавливаясь в какой-нибудь избе, где и выполняли портняжные работы для всех жителей деревни.
МУЖСКАЯ ОДЕЖДА, ГОЛОВНЫЕ УБОРЫ, ОБУВЬ.
Мужская одежда марийцев не отличалась таким разнообразием,
как женская. Она подвергалась сильному влиянию русской одежды и
рано утратила своеобразие. Еще в первой половине XVIII в.
Г.Ф.Миллер отмечал, что у народов Поволжья «мужской пол носит платье
почти одинаковое, наподобие того, какое у русских мужиков бывает».
Это было связано с тем, что мужское население являлось более
подвижным - занималось кустарными и отхожими промыслами, поэтому
быстро воспринимало русскую и фабричную одежду. Однако в
конце Х1Х-начале ХХ в. в мужском костюме марийцев сохранялись
специфические черты, проявляющиеся в покрое, отделке, способе
ношения тех или иных элементов одежды. Комплекс мужского
традиционного костюма состоял из рубахи, штанов, кафтана, головного
убора, пояса и обуви. Покрой элементов был во многом сходен с
конструкцией костюма женщин.

Рис.25. Покрой мужской рубахи горных марийцев.

Рис.26. Мужская рубаха луговых марийцев Уржумского уезда Вятской губернии.

Рис.26-0. Мужская рубаха и специальный орнамент «ӧрма».

Рис.27. Косоворотка.

Рис.28. Покрой мужских штанов.
Рубахи шили с подоплекой (туп) из грубого посконного холста и ластовицами (олто, кыштек). У горных марийцев их делали из кумача. Мужские рубахи, как отмечала Т.А.Крюкова, в середине XIX в. были очень длинными — ниже колена, однако к началу ХХ в. этот вид одежды становится значительно короче - не достигал и середины бедра.
Мужские повседневные рубахи луговых и горных марийцев шили из домашнего холста, а восточные наряду с белым холстом использовали и пестрядь. Для праздничных рубах поволжские марийцы использовали первосортный холст или ткань, сотканную наполовину из конопляных и фабричных ниток.
У луговых марийцев вышивка на рубахах сохранялась длительное время - вплоть до 30-х годов ХХ в. Она располагалась у ворота (шӱй йыр тӱр), у грудного разреза (пондаш йыр тӱр), на спине (туп йыр тӱр), на обшлагах рукавов (шокш мучаш тӱр) и на подоле (урвалте йыр тӱр).На подоле мужской рубахи в центре располагался специальный орнамент, обозначающий защиту мужского достоинства, поэтому ему уделялось особое внимание (рис.26-0)
Самой богатой вышивкой отличались мужские рубахи марийцев Уржумского уезда (рис. 26).
Праздничные холщовые рубахи дополнительно украшались пуговицами, монетами, тесьмой. Рубаха горных марийцев в XIX в. еще имела небольшую орнаментацию у грудного разреза, а к началу ХХ в. вышивка исчезла из декора полностью.
С конца XIX века среди горных марийцев начинает распространяться русская косоворотка. К этому времени она наиболее широко бытовала в качестве праздничной одежды среди этой группы (рис. 27). Один из исследователей их быта отмечает в своих записях, что парни носят в праздники рубашку сшитую по-русски, с косым воротом и пуговицами, из ситца малинового или синего цвета. Т.А.Крюкова считала, что переход на ношение косоворотки произошел не сразу. Переходным типом была холщовая рубаха на кокетке, со стоячим воротником и с пришивной планкой на грудном разрезе. Рукава с манжетами, собранные в сборочку, пришивали непосредственно к кокетке. Воротник, планка и концы рукавов орнаментировались вышивкой крестом из разноцветных ниток».
По традиции луговые, горные и большинство восточных (за исключением закамских) марийцев носили рубашку подпоясанной. Мужская рубаха марийцев, вероятно, оказала влияние на соседей, в частности на русских Урало-Поволжья, у которых бытовала рубаха с разрезом на правой стороне. Г.С. Маслова отмечала, что разрез на правой стороне характерен для марийцев и удмуртов, а у русских он редкое явление.
Штаны (йолаш, ялат)
шились из двух цельных точей холста, которые составляли штанины, между которыми вставлялся косой клин. Носили их при помощи продетой в пояс вздержке-гашнике. В.Н.Белицер считала этот тип, названный ею штанами с узким шагом, наиболее архаичным, распространенным среди русских, башкир, татар, мордвы, удмуртов (рис. 28). Исследовательница отнесла их к первому типу штанов с узким шагом.
Традиционные мужские штаны шили из домашнего белого холста. С начала ХХ века для этой цели начали употреблять окрашенный холст или пестрядь в синюю полоску. Зимой носили штаны из домашнего полусукна. Праздничные шили из фабричных тканей. У группы горных мари для этой цели приобретали хлопчатобумажный бархат (плис).
Пояс (ӱштӧ, ӹшты)
был незаменимой деталью в общем комплексе одежды и выполнял утилитарную функцию: к нему подвешивали ножны, кожаные мешочки для табака, огнива и трута, кошелек для денег и т.д. Пояс у марийцев был снабжен и различными привесками, игравшими роль оберегов. Так, в одной из дореволюционных работ отмечалось, что «рубахи опоясываются в будни ремнем с медными и железными пряжками, а в праздники - красным шерстяным поясом с кистями и заветными ремешками, вырезанными из шкуры какого-нибудь жертвенного животного». У марийцев бытовали различные тканые пояса из шерстяных, шелковых и конопляных ниток. Популярными были кожаные пояса. У горных марийцев бытовали домотканые шелковые пояса с вытканными фразами религиозного содержания. Свадебные и праздничные пояса украшались бисером, серебряными монетами, иногда вышивкой. Свадебные пояса назывались «шиян ӱштӧ» (пояс с серебром).
Для опоясывания верхней одежды применялись широкие домотканые кушаки (пота, потаӱштӧ) из шерстяных и хлопчатобумажных ниток. Их носили и в праздники, и в будни. У марийцев были известны и холщовые пояса в виде полотенца с вышитым или тканым узором. Они надевались во время молений!.
У марийцев, как и у многих других народов Поволжья, было в обычае подвешивать к поясу различные подвески. Особенно большую роль эти элементы играли в свадебном костюме жениха и невесты.

Рис. 29 . Покрой мужского легкого кафтана первого типа.

Лис. 30. Покрой мужского легкого кафтана второго типа.

Рис. 31. Покрой демисезонного кафтана первого варианта первого типа.

Рис. 32. Покрой демисезонного кафтана первого типа второго варианта.
- важная часть традиционного мужского костюма. Кафтаны подразделяются на следующие виды: летние, демисезонные и зимние. Летом носили легкую распашную верхнюю одежду из белого холста (шовыр, тазыр). Она была двух типов: прямой туникообразный кафтан и кафтан-борчатка. Первый бытовал у большинства марийцев, в частности у луговых и основной массы восточных мари (рис. 29). Кафтаны-борчатки были распространены главным образом среди горных и части луговых марийцев (рис. 30). Этот тип кафтана был отрезным в талии и имел много сборок на подоле. Борта праздничных кафтанов украшались кумачом, тесьмой, у луговых марийцев - вышивкой.
Демисезонные кафтаны (мыжер) с вырезной проймой шили двух вариантов: 1) прямоспинный кафтан с шалевым воротником (рис. 31); 2) кафтан с глухим или шалевым воротом, отрезной в талии сзади, с запахом на левую сторону (рис. 32). Теплые кафтаны шили из домашнего сукна, праздничные - из белого (ош мыжер), а будничные - из черного (шем мыжер). Белые кафтаны обшивались черной домотканной тесьмой. «Мыжер» подпоясывался кушаком. Состоятельные семьи покупали на праздничные кафтаны фабричное сукно (посто мыжер). У восточных марийцев наряду с вышеописанными кафтанами бытовали кафтаны, характерные для тюркского населения (камзол, легкий бешмет).
Традиционной зимней мужской верхней одеждой была шуба (ужга, ыжга, кӱрык), полушубок (пӱремдыме ужга) преимущественно из овчин, окрашенных в красноватый или черный цвета. У марийцев бытовали шубы двух типов: прямоспинные и отрезные в талии. Нередко их покрывали сверху холстом или сукном. Наиболее богатой считалась шуба, покрытая фабричным сукном (ӱмбалан ужга). Такую зимнюю одежду носили только состоятельные семьи. Беднота зимой надевала суконные кафтаны, но с подкладкой.
Зимой в сильные морозы или в дороге пользовались тулупом и азямом. Тулуп по покрою не отличался от прямоспинной шубы, но был значительно длинней и имел большой воротник. Такой вид зимней одежды имели зажиточные люди. Азям шили из толстою грубого домашнего сукна в виде халата с большим воротником. Он надевался в дальнюю дорогу, особенно был популярен у тех мужчин, которые занимались извозом.
Головные уборы.
Среди летних головных уборов марийцев преобладали валяные шляпы (упш, теркупш, шляпа). Они были разнообразной формы. И.Н.Смирнов в своей работе отмечал, что в местностях, соседних с татарами, марийцы носили круглые войлочные шляпы с довольно широкими загнутыми полями, идентичные татарским. На остальной части Марийского края бытовала цилиндрическая шляпа. Шляпы валяли в домашних условиях, праздничные из белой шерсти, повседневные - из черной. Этот тип головного убора считается старинным. Но, по предположению И.Н.Смирнова, шляпе предшествовал башлыковидный головной убор из меха или кожи. Реликты его еще встречались во второй половине XIX века в виде берестяной шапки языческих жрецов-картов и холщового накомарника (шымакш). Последний представлял собой прямоугольный кусок холста, сшитый с одной стороны в виде башлыка, конец которого украшался бахромой. Шымакш вышел из употребления, вероятно, к концу XIX века, так как в описи одной из коллекций 1905-1906 гг. об этом уборе говорится как об исчезнувшем. Подобный головной убор бытовал в прошлом и у русского населения Казанской губернии. С конца XIX века в костюм мужчин проникает картуз, который вначале являлся принадлежностью костюма молодежи. Впоследствии фуражка, заменившая картуз, вытеснила все другие типы летних головных уборов.
Зимой мужчины надевали шапки с овчинным околышем и суконным верхом и шапки-ушанки (малахай), сшитые из овчины и сукна.
Обувь.
Основной обувью мужчин были лапти (йыдал, йондал), сплетенные из семи лык и с оборами (керем) из этого же материала, при помощи которых лапти закреплялись на ноге. Их всегда носили в комбинации с онучами, летом — холщовыми, зимой - суконными. В долждливую погоду под лапти обували кожаные мягкие сапоги — бахилы (пакилка).
Из кожаной обуви мужчины носили сапоги (кем), которые обычно покупали на базарах. Восточные марийцы использовали сапоги-коты (шулышан ката) с суконными или войлочными голенищами, которые были заимствованы у башкир. Наиболее модными считались сапоги со сборами в нижней части голенища. Зимой носили валенки (портышкем, межгем). Среди состоятельных марийцев были популярны узорные валенки. Они были распространены главным образом у горных (сареман мижгем) и восточных (чувар портышкем) марийцев. Такая обувь была обычно фабричного производства и приобреталась на рынке». Ее носили только по праздникам.
В целом одежда из фабричных тканей русского покроя у основной массы марийцев в дореволюционный период считалась праздничной. Процесс замены традиционных форм одежды на русскую в различных субэтносах мари происходил неравномерно. Только для горных марийцев была характерна утрата многих форм мужского народного костюма уже к началу ХХ века. М.Цедровский, собиравший этнографические экспонаты среди горных марийцев, подчеркивал, что «Козьмодемьянские мужчины-черемисы, в особенности парни, в праздники одеваются совершенно по-русски... у редкого парня увидишь лапти, у всех почти сапоги с набором, на голове картуз, часто самый новомодный, у богатых парней можно увидеть часы, калоши и зонтики.» У луговых и восточных мари некоторые элементы национального костюма сохранились до 40-х годов нашего столетия. В костюме марийцев-мужчин преобладали не столько местные, сколько имущественные, а по некоторым элементам — возрастные различия.
КОМПЛЕКСЫ МАРИЙСКОЙ ЖЕНСКОЙ ОДЕЖДЫ
Рассмотренные выше элементы женского народного костюма свидетельствуют
о том, что одежда марийцев имеет общие для всех этнографических
групп черты. К ним относятся: белый холст и сукно
преимущественно домашнего изготовления как основной материал
для одежды; туникообразный покрой наплечной одежды; отделка
элементов костюма вышивкой преимущественно из красных (различных
оттенков) и черных ниток; плетеная из лыка обувь, носившаяся в
комбинации с холщовыми и суконными онучами; украшения из монет,
бисера, раковин ужовок и металла. Однако наряду с этими общемарийскими
чертами имелись и различия в костюме не только субэтносов, но
и их отдельных локальных подразделений.
Каждая из этих локальных групп характеризовалась специфическими особенностями говора и материальной культуры. Особенно ярко эти отличия проявлялись в женском народном костюме. Эти специфические особенности в культуре марийцев отмечались еще в работах XVIII в. Так, участник первой Академической экспедиции 1733-1743 гг. Г.Ф.Миллер впервые отметил отличия в женской одежде и головных уборах у марийцев, проживающих в различной местности». Исследователь быта народов Поволжья профессор И.Н.Смирнов в своей монографии «Черемисы» (1889 г.) сделал попытку очертить границы этнографических районов марийцев, взяв в качестве основного признака женский головной убор. Именно женский костюм выступает определяющим признаком при выделении локальных групп марийцев. В нем сохранилось гораздо больше этнических традиций, чем в мужском.
В данном разделе выделены только женские костюмные комплексы, поскольку мужская одежда к началу ХХ века претерпела значительные изменения. Возможно, в более ранний период (первая половина XIX века), когда одежда данной части марийского населения не подвергалась столь сильным изменениям, существовали локальные костюмные комплексы, совпадающие с ареалами распространения женских. В подтверждение этого предположения говорит тот факт, что некоторые традиционные формы мужской одежды были схожи по конструкции с принадлежностями женского костюма и районы их распространения совпадали. Особенно эта общность характерна для нательной (рубаха) и наплечной (кафтан) одежды. Однако мы не имеем достаточно полных материалов для выделения мужских костюмных комплексов.
Как уже отмечалось выше, сохранившееся до наших дней у марийцев разделение на группы прослеживается по характерному для каждой из них женскому головному убору. Внутри наиболее многочисленной этнографической группы луговых марийцев выделяются три таких локальных подразделения, каждое из которых различалось и именовалось по назначению женского головного убора, характерного для той или иной местности. Так, по названию остроконечного головного убора «шымакш», распространенного в северо-восточных районах республики и в западной части Уржумского района Кировской области (в прошлом Уржумский уезд Вятской губернии), можно различить «шымакшан мари» или «чурикан мари»; по каркасному головному убору сорока определялась группа «сорокан мари» - северозападные районы республики, Санчурский, Яранский, Пижанский районы Кировской области (по дореволюционному административно территориальному делению северная часть Царевококшайского уезда Казанской губернии и Яранский уезд Вятской губернии); по полотенчатому «шарпана» названа группа «шарпан-нашмакан мари» («чувла мари») в юго-восточной части республики (в прошлом южная часть Царевококшайского уезда Казанской губернии). Шарпан был распространен у группы горных мари, но у них этот головной убор отличался не только орнаментацией и размером, но и способом ношения, что отмечалось в предыдущем разделе.
Сложно определить хронологический период деления на группы по данному элементу женского костюма. На территории расселения вышеназванных групп в прошлом бытовали и другие виды женских головных уборов, которые в начале ХХ века встречались только как реликты. Например, у мариек, носивших шарпан, одновременно был распространен шымакш в виде башлыка, у части «сорокан мари» также в прошлом бытовал шымакш. Следует подчеркнуть, что браки между представителями группировок, где бытовали различные женские уборы, были крайне редкими в дореволюционный период. Это отмечали в своих работах И.Н.Смирнов и М.Вескен.
Впервые локальные комплексы женской народной одежды поволжских мари были выделены и охарактеризованы известной исследовательницей этнографии народов Поволжья Т.А.Крюковой в работе «Этнографические и локальные группы марийцев (по материалам одежды)», которую она, к сожалению, не успела опубликовать. Ею было выделено 6 комплексов женской одежды: 1) горномарийский; 2) ветлужский; 3) яранский; 4) вятский и уржумский; 5) царевококшайский; 6) приволжский и моркинский. На основе проведенных нами полевых исследований, анализа музейных и литературных источников выделено 5 комплексов. При выделении комплексов автор придерживался точки зрения К.И.Козловой, которая по особенностям этнографического уклада, языка и этнических связей включает небольшую группу ветлужских мари в единый район с горными марийцами в отличие от Т.А.Крюковой, разделявшей эти группы. В 1980 году автором в составе комплексной экспедиции МарНИИ проведено определение точных границ распространения костюмных комплексов.
Костюмные комплексы, характерные для восточномарийского на селения, охарактеризованы в работе Г.А.Сепеева. Им выделено три комплекса: прикамские и прибельские марийцы (Елабужский и Сарапульский уезды Вятской губернии, Бирский и Уфимский уезды Уфимской губернии), которые составляют большинство данной этнографической группы; второй бытовал у икско-сюньских мари (Белебеевский и Мензелинский уезды Уфимской губернии); третий распространен среди уральских марийцев (Красноуфимский и Кунгурский уезды Пермской губернии).
Остановимся на общей характеристике отдельных комплексов одежды поволжских марийцев, т.е. двух субэтносов - луговых и горных.
Первый комплекс характерен для луговых марийцев северо-восточной части края. Мы назовем его условно сернурско-торъяльский (уржумско-сернурский). Ареалом его являются Сернурский, Куженерский, Мари-Турекский, Параньгинский, Новоторъяльский, большая часть Советского, несколько селений Шиныпинского сельсовета Моркинского района республики и марийские селения Уржумского района Кировской области. В целом эта часть края совпадает с территорией бывшего Уржумского уезда Вятской губернии.
Комплекс состоит из туникообразной рубахи второго подтипа с правым асимметричным грудным разрезом и небольшими клиньями между основным полотнищем и двумя боковыми, холщовых штанов, туникообразного прямоспинного кафтана с клиньями (переходного типа). Головной убор - остроконечный шымакш, который носили с треугольным холщовым платком. Обувь - лыковые лапти с лыковыми оборами в комбинации с холщовыми и суконными онучами. Особенность обуви заключалась в наличии красной окантовки на наружных концах черных шерстяных онуч («вургыштыр», «тӱргандыран ыштыр»), обертывающих голени, и особых подвязок или обор для обвязывания («поснагандыра»). Верхняя теплая одежда состояла из суконного кафтана с клиньями в боках.
Праздничный костюм этой локальной группы всегда дополнялся легким летним кафтаном и передником, в то время как в будни ношение данных элементов было необязательным.
В состав свадебной одежды невесты и других участниц свадебной церемонии входили: зеленый суконный кафтан второго типа, суконная шапка с лисьим мехом первого типа, набедренные подвески первого типа и полный набор украшений. У некоторых марийцев в качестве свадебного головного убора (вплоть до начала XIX века) использовалась конусовидная «шурка», относящаяся к головным уборам первого типа на высоком каркасе (фото 10).

Фото 10. Мужчина и женщина в костюмах сернурско-торъяльской группы.
Для украшений сернурско-торъяльских марийцев характерны: серьги с шариками из заячьего меха, подкрашенными в розовый цвет, девичьи косники, нагрудные украшения из монет и раковин каури, ожерелья из монет и бус, браслеты, перстни.
Следует отметить, что этот комплекс, как и другие, о которых речь пойдет ниже, не был однороден. Внутри его имеются локальные особенности некоторых элементов одежды. В частности, это способ надевания остроконечной части головного убора шымакш. У мариек, проживающих в юго-восточной части Мари-Турекского района, она располагалась ближе к затылочной части головы, у мариек южнее г.Уржума это часть убора находилась надо лбом. У последних имелись некоторые особенности в мотивах и в цветовой гамме вышивки одежды: использовались более темные тона ниток, чем у основной массы данной группы луговых марийцев.
Второй комплекс характерен для санчурско-яранской (северной) группы луговых марийцев, живущих ныне в Яранском и Санчурском районах Кировской области, в северной части Килемарского района республики (в прошлом территория Яранского уезда между городами Царевосанчурском и Яранском). К этому же комплексу относится одежда небольшой группы тоншаевских марийцев, значительно удаленных от основной массы марийского населения, живущего за пределами этнической территории, в современном Тоншаевском районе Нижегородской области (бывший Тоншаевский уезд Костромской губернии).
В состав этого комплекса входила туникообразная рубаха с правым асимметричным грудным разрезом второго подтипа. Своеобразием женской рубашки являлось сочетание черт, характерных для соседних групп марийцев. По асимметричному разрезу ворота и оформлению нагрудной вышивки она была близка рубашке уржумско -сернурских мариек. По расположению вышивки на других деталях рубашки, по названию, приемам вышивания и расцветке она была сходна с рубашкой моркинско-звениговских мариек, в качестве зимней одежды использовался прямоспинный суконный кафтан первого типа, в состав комплекса входили штаны с узким шагом, прямоспинный халатообразный кафтан первого типа, женский головной убор сорока с квадратным платком, лыковые лапти с шерстяными оборами и холщовыми суконными онучами. Края их обшивали яркой тканью и шерстяными кисточками.
Свадебный костюм невесты состоял из черного суконного кафтана первого типа и черной мерлушковой шапки второго типа. Этнографические данные свидетельствуют о бытовании в прошлом у этой группы марийцев также зеленого свадебного кафтана, как у представителей уржумско-сернурского комплекса.
Для зооморфной орнаментации одежды данной группы характерно использование двух швов — «росписи» и «косой стежки», вышивка исполнялась преимущественно шерстяными нитками с преобладанием красно-коричневой гаммы.
Своеобразной была манера украшения одежды, характерная только для данного комплекса начала ХХ в.: вышивка украшалась пучками цветной шерсти, городчатой тесьмой, вязаными кружевами, плоскими белыми пуговицами и блестками.
Украшения санчурско-яранской группы также имели отличительные признаки. Они состояли из шейных (воротники) и нагрудных украшений. Различные их виды изготовлялись главным образом из бисера, пуговиц, бус, шерстяной бахромы и в меньшей степени из монет.
Мужская одежда к началу ХХ века шилась в основном по русским образцам из тканей домашнего производства. Третий комплекс - йошкар-олинский (царевококшайский) был распространен у луговых марийцев, расселенных в центральной и северной части края, вокруг Царевококшайска (Йошкар-Олы), то есть на севере Царевококшайского уезда Казанской губернии (современный Медведевский и часть Оршанского районов Марийской республики, фото 11).

Фото 11. Женский традиционный костюм йошкар-олинской группы.
Свадебная одежда включала черный суконный кафтан первого типа с четырехугольным воротником и мерлушковую шапку серого или черного цвета с суконным верхом (тип второй).
Одежда этой территориальной группы была украшена богатой орнаментацией из шерстяных ниток (в области груди, вдоль рукавов, на конце рукавов, подоле), где преобладали зооморфные и антропоморфные мотивы. Женщины данной территориальной подгруппы марийцев при вышивании пользовались главным образом двумя технологическими приемами - «косой стежкой» и «росписью». В качестве отделки использовалась только домотканая тесьма темно-красного цвета, позже - фабричная.
В повседневном костюмном комплексе мужчин данной группы сочетались как традиционные, так и новые формы одежды, воспринятые у русского населения. Праздничная одежда на русский манер шилась в основном из фабричных тканей.
Шейные и нагрудные украшения состояли главным образом из монет, бисера, пуговиц, раковин каури.
Четвертый комплекс - звениговско-моркинский (южный), распространен среди луговых марийцев в Моркинском, Волжском, Звениговском районах республики (в прошлом в южной части Царевококшайского и небольшой части Казанского уездов Казанской губернии, фото 12).
Фото 12. Женский традиционный костюм звениговско-моркинской группы.

Фото 13. Женский традиционный костюм горных марийцев.
Комплект свадебной одежды состоял из черного суконного кафтана с прямоугольным воротником, откидывающимся на спину (первый тип). Только у мариек Звениговского района вместо черного кафтана надевали белые холщовые кафтаны с богатой вышивкой, украшенные яркими лентами. Свадебным головным убором была мерлушковая шапка, как и в санчурско-яранском и царевококшайском комплексах. Для данной группы луговых марийцев характерно использование богатых налобных, нагрудных, поясных, черезплечных украшений, изготовленных преимущественно из монет. Комплект украшений звениговско-моркинских марийцев имеет прямые аналогии с украшениями чувашей.
Примечательно, что не только украшения, но покрой и орнаментация одежды данной группы луговых мариек имеет общие черты с традиционным костюмом чувашей-анатри.
Богатая вышивка одежды выполнялась шерстяными нитками, швами «роспись» и «косой стежок». Характерной особенностью орнаментации была обводка контура вышивки черными нитками. Узоры орнамента состояли из зооморфных, растительных и геометрических мотивов.
Мужская повседневная одежда включала в основном традиционные формы народного костюма. Праздничная одежда состояла преимущественно из русских образцов одежды.
Для горных марийцев характерен один комплекс (фото 13). В состав пятого комплекса, горномарийского, входили следующие формы одежды: туникообразная рубаха первого и второго варианта первого подтипа с центральным грудным разрезом, штаны с узким шагом, отрезной в талии кафтан (третьего типа), головной убор шарпан.
В конце XIX века в состав этого комплекса вошел передник с грудкой. Обувью служили лапти с маленькой головкой с холщовыми и суконными онучами, сапоги, собранные в гармошку в нижней части голени, зимой - валенки. Зимняя одежда - суконные кафтаны такого же покроя, как и летняя верхняя одежда.
Свадебная одежда, как и праздничный костюм, к концу XIX века уже утратила архаичные черты. Вышел из употребления зеленый свадебный кафтан второго типа, поясные подвески, холщовый приталенный кафтан с богатой орнаментацией переходного типа. Эта же тенденция характерна и для комплекса украшений из монет - к началу ХХ века некоторые древние элементы (ошпу, шулъкеме, аршаш) были утрачены. В начале ХХ века в качестве свадебной одежды использовали просто праздничную одежду и некоторые формы украшений (ушные подвески, шейные и нагрудные ожерелья, цепочки).
В то время, как вышивка различных подгрупп луговых марийцев имела много общего в мотивах и технике исполнения, горномарийская отличалась двусторонним мелким узором. С конца XIX века вышивка горных марийцев приобретает яркую расцветку. Костюмный комплекс горных мари почти идентичен одежде чувашей группы виръял, что было связано не только с этнокультурными, но и этногенетическими связями между соседними народами.
Традиционный костюмный комплекс небольшой группы марийцев, живущих в окрестностях д.Кокшамары Звениговского района МАССР, судя по музейным коллекциям и полевым материалам, сходен с горномарийским. Интересно, однако, отметить, что носители этой одежды к горным марийцам себя не относят. Отличие состояло в том, что у кокшамарских мариек подол рубахи украшался вышивкой и вязаными кружевами, что неприсуще для горных мари, а также в бытовании некоторых украшений, характерных для чувашей. Изменения, сближающие одежду данной группы с костюмом луговых марийцев, произошли только в 30-е годы ХХ века. Поэтому традиционный комплекс одежды этой небольшой территориальной группы мы относим к горномарийскому (см. карту 6).

Карта б. Территориальное распространение комплексов женской народной одежды.
Мужской костюм горных марийцев заменился русскими формами одежды. Многие виды ее шились из фабричных тканей или покупались готовыми.
Сохранение нескольких комплексов народного костюма у марийцев было обусловлено рядом факторов. Не исключено, что фиксируемые нами отличия в комплексах одежды указанных локальных групп связаны с некоторыми различными древними этническими компонентами.
Марийский край в дореволюционный период не представлял единой административной единицы, что препятствовало внутриэтническим связям между различными группами и способствовало закреплению специфических отличий в языке, культуре и быте марийцев, живших в разных губерниях России. Об этом свидетельствует тот факт, что внутри указанных групп существовало около 10 говоров. Не меньшее значение имела эндогамность локальных групп: у марийцев существовал обычай, запрещавший брать невесту из населенного пункта, где носили костюм, отличавшийся от того, который бытовал среди женщин родной деревни. Например, даже ветлужские марийцы, удаленные на значительное расстояние от основной массы горных мари, не брали себе в жены девушек из соседней локальной группы, где женщины носили иной головной убор - сороку, а предпочитали брать жен из горных мариек.
Нельзя не отметить также роль религиозных воззрений в сохранении традиционных элементов одежды. Так, марийцы считали, что одежда иного покроя и расцветки, фабричная обувь могли приносить болезни, неурожай, бедствия и т.д. Поэтому в среде марийцев велась борьба с внедрением каких-либо новшеств в одежде, что неоднократ но отмечалось в этнографической литературе. Любопытный случай произошел в 80-е годы XIX в. в д.Куприянсола Уржумского уезда. По решению сельского схода, в деревне собрали и уничтожили женские наряды из фабричных тканей, яркие платки, фартуки, которые, по мнению марийцев, вели к легкому поведению женщин.
Представители различных конфессиональных групп также были эндогамными. Так, внутри одной локальной группы крещеные и некрещеные марийцы практически не вступали в брак. Одна из интереснейших наших информаторов колхозница П.Г.Айглова 1898 года рождения сообщила, что в детстве на базаре она видела такую пару: муж был православный, жена - некрещеной, и все окружающие смотрели на них как на «диковинку».
Искусственное сохранение многих архаичных черт духовной и материальной культуры характерно и для религиозной секты «Кугу- сорта», приверженцы которой препятствовали каким-либо нововведениям в народный костюм. Они использовали ткани, красители, нитки для вышивания только домашнего производства.
На своеобразие костюмных комплексов не могла не сказаться специфика этнокультурных контактов с соседними народами (удмуртами, татарами, чувашами, русскими). Некоторые головные уборы, бытовавшие в XIX веке у мариек, на наш взгляд, являются результатом этих тесных контактов. Так, полотенчатый «шарпан» воспринят у тюркоязычных народов, «сорока» - во время христианизации и под влиянием русского населения. Взаимодействие это ярко проявлялось в одежде горных и моркинско-звениговских марийцев с чувашами, причем у первых прослеживается ряд общих элементов с одеждой чувашей-виръял, у вторых - с группой чувашей-анатри. Костюмный комплекс санчурско-яранских марийцев претерпел значительные изменения под влиянием русской одежды.
Таким образом, мы выделяем пять комплексов костюма, четыре из которых относятся к этнической группе луговых мари. Одежда горных мари представляла единый комплекс. Бытование отдельных комплексов совпадало с распространением различных диалектов марийского языка.
